鉄骨工事では切板(きりいた)を様々な箇所に溶接をします。
その切板は形や用途によって様々な呼び名があります。
本日はリブプレートを解説していきます。
エンオーク
¥616 (2024/01/30 11:42時点 | 楽天市場調べ)
リブプレートとは
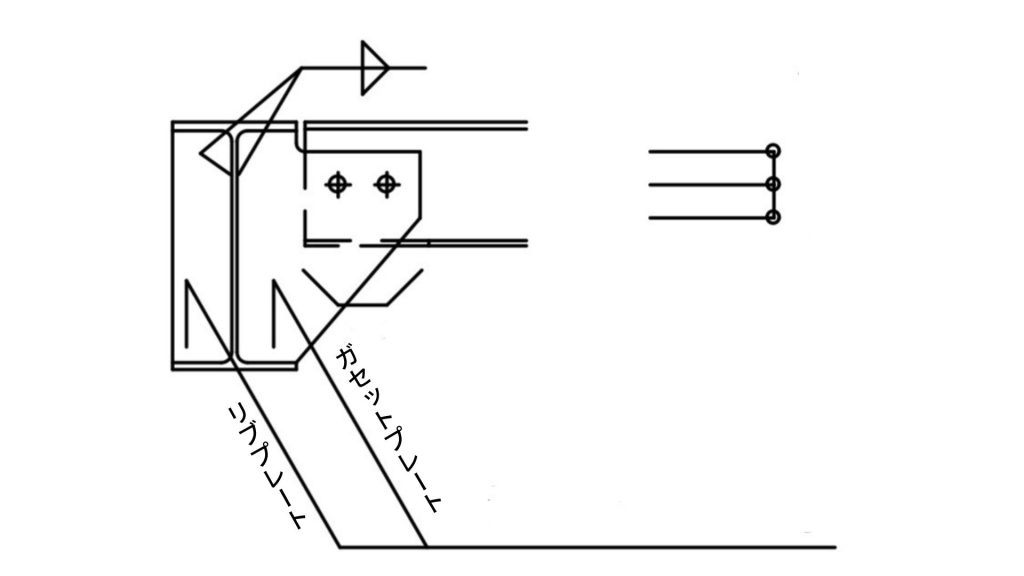
小梁などにはH形鋼にガセットプレートを付けてジョイントしていきます。
ジョイント部分にはH形鋼が取りつくのでどうしても受けている梁には荷重がかかります。
鉄も固いとはいえチカラがかかるとどうしても曲がったり破断してしまう可能性があります。
そんなときにはガセットプレートとは反対側に補強として付けるのがリブプレートです。
リブプレートは他にも補強として使う板には様々な用途があります。
鉄骨工事では柱のベースプレート部分に補強として溶接する鉄板もリブプレートと言います。
鉄骨工事ではリブと呼ぶ
現場で鉄板を溶接する際に補強としてリブを入れてほしいといった会話を耳にすることがあります。
補強板を入れるといった解釈をしておきましょう。
リブ(rib)や肋骨といった意味を持ちます。
建築では平たい部分に直角に付ける板と覚えておいてもいいでしょう。
¥2,573 (2024/01/31 21:26時点 | Amazon調べ)

